Amazon is known for creating ambitious and industry-changing ideas—just consider the Kindle, Amazon Go, and its wind and solar farms—and now the company is looking to take a concept to new heights, literally.

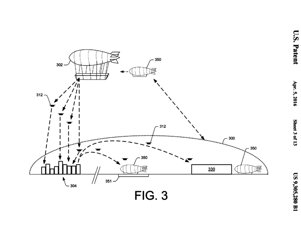
A patent filed by Amazon Technologies, Inc., in 2014, for an “airborne fulfillment center”—a warehouse suspended beneath a giant blimp at 45,000 feet—utilizing unmanned aerial vehicles (UAVs) or drones for item delivery—was approved last December.
The company has already been experimenting with drones as part of its Amazon Prime Air program, which will deliver packages up to five pounds to customers in 30 minutes or less using drones. This delivery method is being tested in-house and the first delivery was made on December 7 in the UK.
But since powering up drones from the ground requires lots of energy, Amazon is hoping to store the products in huge floating airship warehouses, which would hold and launch a network of drones to float items down to customers.
The patent request provides an example: a user may browse an e-commerce website and place an order for an item that is in the inventory of the AFC. Upon placing the order for the item, fulfillment instructions may be sent to the AFC and a UAV within the AFC may engage the item for delivery to the user. When the UAV departs the AFC, it may descend from the high altitude of the AFC using little or no power other than to guide the UAV towards its delivery destination and/or to stabilize the UAV as it descends.

Another paragraph of the patent description reads: “The use of an AFC and shuttles also provides another benefit in that the AFC can remain airborne for extended periods of time. In addition, because the AFC is airborne, it is not limited to a fixed location like a traditional ground based materials handling facility. In contrast, it can navigate to different areas depending on a variety of factors, such as weather, expected demand, and/or actual demand.”
Dr. Barry E. Prentice, professor of Supply Chain Management, at the I.H. Asper School of Business, University of Manitoba and the former director of the Transport Institute, notes that the way Amazon’s plan was presented has red flags for anyone familiar with the technology.
“They are talking about putting something up at 45,000 feet, which is understandable because you’re not involved with any other aircraft flying at that height, and second is you don’t have a lot of wind and you can look down and see a lot of area for the drones, so those would be the good things,” Dr. Prentice tells the Balloon Journal. “The downside is that at 45,000 feet there is not a lot of atmosphere and since the airship by definition gets its lift by displacing the weight of the air it replaces, you have to have a very big airship to lift anything at that height.”
Dr. Prentice says that Amazon would need a “monstrous” device to do that and doesn’t feel that the materials available today would allow it to be up there safe and secure. He also feels that the aircraft that are proposed to resupply the “warehouse” will have some difficulty carrying any large weights at that altitude.
Another challenge is once the drones and supplies leave the aircraft, the aircraft will become lighter and there needs to be a way to deal with that increased buoyancy, and that might require using hydrogen gas—although that’s not a proven method as of yet.
“I do like the idea that the drone taking a parcel down from the airship at that height is not using a lot of power to drop it down and then you would have less weight coming back, so that would certainly extend the range of the drones,” he says. “[And though] small drones make a lot of sense, the issue with that technology is how you dispatch them around households, especially when you’re maneuvering around streets and over houses will present some legal issues.”
Another aircraft expert, who preferred not to be identified, was even more skeptical about the idea and thinks it’s more of a publicity stunt by the company. He feels that while the idea seems somewhat practical on paper, that the Federal Aviation Administration’s (FAA) regulatory guidelines concerning drones would be too much of a hindrance for it to feasibly work.
The FAA does however permit drones for the transportation of material for compensation or hire, provided the operator complies with all the provisions of the rule, including that the operator must keep the UAV within his/her sight, the flight is conducted within visual line-of-sight and not from a moving vehicle, external loads must be securely attached and cannot adversely affect the flight characteristics or controllability of the aircraft, and the aircraft with payload must weigh less than 55 lbs. at takeoff.
Still, Amazon’s delivery method is more ambitious than the FAA rules, and most aviation experts agree that the regulatory requirements to get something like this done would be restricting.




One Response
Excelente tutorial